咨詢電話
13924666952
400-158-1606
華成機械手控制系統——伺服電機的PI參數怎么進行調試?首先先記著這一段口訣:
參數整定找最佳,從小到大順序查;
先是比例后積分,最后再把微分加;
曲線震蕩很頻繁,比例度盤要放大;
曲線漂浮繞大彎,比例度盤往小扳;
曲線偏離回復慢,積分時間往下降;
曲線波動周期長,積分時間再加長;
曲線震蕩頻率快,先把微分降下來;
動差大來波動慢,微分時間應加長;
理想曲線兩個波,前高后低四比一;
一看二調多分析,調節質量不會低。
調試方法一:PID調節規則
1. 清除參,增P,使輸出最短時間內達到期望值。
2. 系統震蕩,P值調節大了,應較減小P值,直到振蕩消失;調節完P后,你的系統的實際值也許會稍大于或小于你的期望值(可看作穩態誤差) ,不用擔心,下面的步驟會修復這點。
3. 緩慢的增加I值直到你的誤差消失為止。如果你的輸出讓系統開始振蕩了,可試著緩慢減小I值。
4. 如果你感到你的系統對誤差的反應滯后了,你應該緩慢增加D值。 如果你的系統開始出現高頻振蕩了,這意味你有一個過大的D值放大了噪聲導致的,這時你該適當的減小D值。如果你的系統有較大的噪聲,最好保持D值為0值。(忽略)
5. 最后注意你的Limits值。
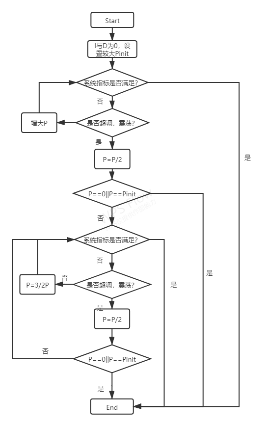
調試方法二:二分法

調試方法三:臨界比例法
臨界比例帶法又稱邊界穩定法,其要點是將調節器設置成純比例作用,將系統投入自動運行并將比例帶由大到小改變,直到系統產生等幅振蕩為止。這時控制系統處于邊界穩定狀態,記下此狀態下的比例帶值,即臨界比例帶KP以及振蕩周期KT,然后根據經驗公式計算出調節器的各個參數??梢钥闯雠R界比例帶法無需知道對象的動態特性,直接在閉環系統中進行參數整定。


調試方法四:衰減法
衰減曲線法是在總結臨界比例帶法基礎上發展起來的,它是利用比例作用下產生的4:1衰減振蕩(Ψ=0.75)過程時的調節器比例帶?,及過程衰減周期Ts,據經驗公式計算出調節器的各個參數。
衰減曲線法的具體步驟是:
(1)置調節器的積分時間Ti→∞,微分時間Td→0,比例帶?為一稍大的值;將系統投入閉環運行。
(2)在系統處于穩定狀態后作階躍擾動試驗,觀察控制過程。如果過渡過程衰減率大于0.75,應逐步減小比例帶值,并再次試驗,直到過渡過程曲線出現4:1的衰減過程。記錄下4:1的衰減振蕩過程曲線,如圖所示的曲線上求取Ψ=0.75時的振蕩周期Ts結合此過程下的調節器比例帶?s,按表計算出調節器的各個參數。
(3)按計算結構設置好調節器的各個參數,作階躍擾動試驗,觀察調節過程,適當修改調節器參數,到滿意為止。

衰減曲線法PID參數整定經驗公式


衰減曲線法PID參數整定經驗公式

高壓伺服調試方法
正弦響應:去使能后,將Pn10伺服模式設置為3,Pn61=100為轉矩指令頻率,使能。調節Pn65,Pn66,同時將Pn82寫入1,觀察波形,要求反饋不能超調,要求反饋不能滯后指令太多。指令幅值±800,反饋幅值不能小于±600。
階躍響應:去使能后,將Pn10伺服模式設置為4,Pn61=100為轉矩指令頻率,使能。利用正弦響應得到的Pn65,Pn66,進行階躍響應,觀察波形,要求反饋不能超調,要求反饋不能滯后指令太多。指令幅值±1800,反饋幅值不能小于±1600。


低壓伺服調試方法
將Pn282寫入16384可以更改電流環比例增益Pn18,電流環積分時間常數Pn19。速度環比例增益Pn21,速度環積分時間常數Pn22。

前饋補償調整:

調整速度前饋增益Pn28,值為0-100%
調節方法:二分法。
陷波濾波調整:
將Pn03寫入1,Pn72--陷波濾波頻率,Pn73--陷波濾波頻寬,
調節方法:二分法調整
先設置Pn73,給個200
開始二分法調整Pn72
直至控制電機不振蕩。
版權所有 ? 深圳市華成工業控制股份有限公司 未經許可不得復制、轉載或摘編,違者必究 版權聲明
Copyright ? Shenzhen Huacheng Industrial Control Co., Ltd. All Rights Reserved.
網站ICP備案號: 粵ICP備19106162號
技術支持:新新網絡